구글에서도 접히는 최신 스마트폰 구글 픽셀 폴드가 출시될 수도 있을 것 같아요. 삼성 갤럭시Z 폴드3와 다르다고 할 수 없을 정도로 빼박~ 똑같다고 해도 반박할 수 없는 모습에 놀랐습니다. 물론 구글 픽셀 폴드가 아직 출시되지 않은 상태지만 소식만으로도 충분히 이슈가 되지 않나 싶습니다. 중국폰 중에 삼성폰을 따라서 출시한 폰을 보면 그러려니 하지만 구글의 픽셀 폴드를 보면 거의 유사해서 중국의 짝퉁폰과는 차원이 다른 문제로 받아들여지게 됩니다. 한편으로는 한국의 위상을 생각하면 기분이 좋지만 안타까운 일입니다. 국내 제조사들도 비슷한 입장으로 문제가 되었던 적이 있기는 하죠.

구글 픽셀 폴드폰 출시 기대 이유
구글 픽셀폰은 구글의 발표라기보다는 해외IT 매체를 통해 먼저 알게 되었으며 구글의 폴더블 폰 계획에 대해 공식적인 입장은 들을 수 없었습니다.
아직은 구글 폴드폰은 소문에 머물러 있지만 소문에 대한 연기가 나기 시작하면 구글 픽셀 폴드는 조만간 출시될 수도 있지 않을까 생각이 듭니다.

구글 픽셀 폴드는 지난 주에 관련된 벤치마크가 온라인에 나타나면서 소문이 빠르게 퍼지고 있습니다. 그럼에도 불구하고 구글은 픽셀 폴드 출시 계획이 없다는 스텐스를 취하고 있습니다.

픽셀 폴드에 대한 소식을 통해 정리해 보면 한 쌍의 전면 센서와 함께 다고 올드한 구식 기본 카메라를 탑재할 것이라는 소문이 있습니다.

또한 구글 앱이 삼성의 최신 폴더블폰과 작동하는 방식을 홍보하는 유튜브 광고도 있어 신빙성에 무게를 실고 있지만 좀 더 지켜봐야 하지 않을까 싶네요.

그러나 구글 픽셀 폴드폰이 2022년 출시를 한다고 단정할 수도 없기 때문입니다. 그럼에도 관심을 갖게 되는 것은 안정적인 OS와 함께 저렴하게 판매될 것이라는 기대 때문입니다.

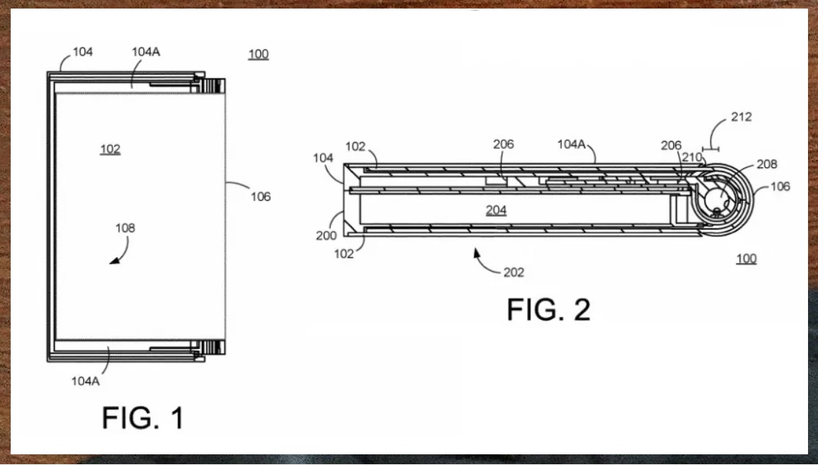
구글 픽셀 폴드폰에 대한 여러 특허 때문에 더욱 기대하게 되는데 특허 중 하나는 힌지를 통해 더 큰 화면을 표시하는 장치를 확인할 수 있기 때문입니다. 특허는 낼 수 있지만 출시가 된다고 장담은 할 수 없습니다.

또 다른 특허에서는 세 곳으로 접힐 수 있는 폴더블 장치를 흥미롭게 보여주지만 이러한 디자인이 출시와 연결될지는 아직 알 수 없습니다.
그럼에도 불구하고 특허 내용이나 몇 가지 소문을 종합해 보면 구글 픽셀 폴드폰은 갤럭시Z 폴드3의 크기는 물론 대화면을 위해 펼쳐지는 방식도 같기 때문입니다.
구글 픽셀 폴드폰의 스펙 몇 가지
구글 픽셀 폴드폰 출시의 신빙성을 더하는 뉴스를 찾았는데 구글이 폴더블 올레드 패널 공급을 받기 위해 삼성과 계약을 맺었다는 보고도 있다는 내용입니다. 관련 자료에 따르면 갤럭시Z 폴드 크기와 같은 7.6인치 패널을 주문했다고 소문입니다.

뿐만 아니라 삼성은 삼성 자체 폴더블의 내구성을 높이는 데 중요한 구성 요소인 초박형 유리층을 구글에 공급할 예정인 것으로 알려져 더욱 기대하게 됩니다.

구글 픽셀 폴드폰에 대한 스펙은 변동사항이 있을 수 있으니 참고만 하면 좋을 것 같아요. 디스플레이는 최대 120Hz까지 확장할 수 있는 LTPO 기술도 적용될 것으로 예상됩니다. 픽셀 폴드폰의 디자인에 따라 더 많은 카메라를 추가할 수 있지만 현재는 소프트웨어 부분에 집중하고 있다는 소식입니다.

구글 픽셀 폴드폰는 1200만 화소 후면 카메라가 하나만 있고 전면 카메라는 800만 화소 카메라가 탑재될 것이라는 소문은 갤럭시Z 폴드3가 트리플카메라인 것을 감안하면 어처구니없기도 합니다.

구글 픽셀 폴드의 칩셋은 현재로서는 스냅드래곤8 Gen 1을 탑재하고 8개의 코어와 1.8GHz에서 2.8GHz 범위의 클록 속도를 가진 칩셋을 실행하고 있음을 추측할 수 있다는 최근 벤치마크로 확인이 됩니다.

OS는 안드로이드12를 제공하며 구글은 폴더블 화면에 맞게 자체 앱을 최적화하기 위해 삼성과 긴밀히 협력했다는 소식도 전해지는데 출시 시점에 돼야 확인할 수 있겠죠.
갤럭시노트22를 대신할 갤럭시S22 울트라 레드와 블랙!! 디자인과 컬러의 매력적인 첫인상
갤럭시노트22를 대신할 갤럭시S22 울트라 레드와 블랙!! 디자인과 컬러의 매력적인 첫인상
갤럭시노트의 단종은 사실상 기정사실이 된 듯합니다. 갤럭시S22 울트라 또는 갤럭시22 노트 그리고 최근에 부상한 갤럭시S22 노트까지 어떻게 브랜딩을 하게 될 지는 기다려 봐야 할 것 같습니다
jongamk.tistory.com
애플 링과 최신 스마트 반지 모바노 링 어떤 차이가 있을까? FDA승인이 관건이기는 하지만
애플 링과 최신 스마트 반지 모바노 링 어떤 차이가 있을까? FDA승인이 관건이기는 하지만
빠르면 2022년부터는 스마트 반지가 라이프 패러다임을 바꿔 놓을 수도 있을 것 같아요. CES2022에서 공개될 모바노 링은 만성질환을 모니터링할 수 있는 스마트 반지입니다. 물론 판매를 위해서는
jongamk.tistory.com
갤럭시S21 FE 크기와 카메라를 포함한 스펙은? 중학생폰으로 욕심낼만한 저렴한 최신 스마트폰
갤럭시S21 FE 크기와 카메라를 포함한 스펙은? 중학생폰으로 욕심낼만한 저렴한 최신 스마트폰
최신 스마트폰 최신 스마트폰의 가격이 만만치 않다 보니 저렴한 최신 스마트폰 출시를 기다리거나 중고폰을 찾는 분도 있지 않을까 싶네요. 중국폰은 선입견 때문에 망설여지지만 이마저도 시
jongamk.tistory.com
댓글