아이폰을 사용하고 있는 분이라면 삼성의 갤럭시Z 플립3 출시 소식에 애플은 언제쯤 폴더블폰을 출시할 수 있을지 궁금해질 텐데요. 물론 현재의 플래트 스타일의 아이폰으로도 충분히 만족하는 사용자도 있겠죠. 일면 접히는 아이폰 플립은 언제쯤 사영해 볼 수 있을까요. 해외IT 매체들의 예견을 참고하면 최소한 2~3년 내에는 만나보기 어렵다는 내용입니다. 물론 삼성도 만드는데 애플이 만들지 못할 이유가 없을텐데~ 뭐 이렇게 말하는 분도 있겠죠. 웬만한 스마트폰이라면 사용하는 데 크게 문제가 없기 때문에 폼팩터의 변화는 수요 창출을 위한 제조사의 입장이라고 할 수 있겠죠.

폴더블 아이폰 플립 출시는 최소 2년 후
오는 9월경 아이폰13이 출시될 것으로 예상되는 가운데 지난 8월11일 삼성이 새로운 스마트폰으로 언팩행사를 실시했습니다. 올해는 LG폰 사용자들의 수요를 얼마나 흡수하게 될 지도 관건입니다.
그러나 애플에 대한 또 다른 관심사는 접히는 폴더블폰 아이폰 플립에 있습니다. 정확한 브랜딩은 되지 않았지만 편의상 아이폰 플립이라고 부르겠습니다.

현재는 애플의 아이폰에 대한 다양한 기대와 추측이 전부지만 관련하여 정보를 많이 얻고 있는 빅마우스들에 의해 들리는 소식이 맞기를 기대하며 지켜보고 있습니다.

애플의 폴더블폰은 블루, 레드, 골드 그리고 그린 컬러로 컵셉폰들이 해외IT 매체를 통해 예상을 들을 수 있지만 아직은 불확실 해 보입니다. 그래서 더욱 기대하게 되는지 모르겠습니다.

그러나 정통한 소식통에 따르면 앞으로 2~3년 동안은 아이폰 플립을 만나 볼 수 없을 가능성이 높다고 전합니다. 삼성전자를 비롯한 중국폰들이 다양한 폴더블폰을 출시하며 완성도를 높이고 있어 애플은 급할 수 있겠죠.

삼성의 갤럭시Z 폴드3와 갤럭시Z 플립3는 완전 방수 수준인 IPX8를 제공하면서 완성도를 높이고 별매이기는 하지만 S펜을 지원하고 있습니다.

애플의 폴더블폰은 2017년 출시에 대한 기대감으로 2020년에 출시될 것이라고 예측했지만 결과는 달라진 것이 없습니다. 그러나 에플이 폴더블 아이폰에 대한 개발을 포기하지은 않을 것입니다.

왜냐면 에플이 거의 10년 동안 접을 수 있는 메커니즘 및 장치에 대한 특허를 등록해 왔기 때문이죠. 물론 특허를 등록한다고 해서 모두 실용화되는 것은 아닙니다.

그러나 폴더블 아이폰의 출시일자는 꾸준히 제기되고 예측되어 왔지만 결국은 2023년 전후가 되야 어느 정도 확신을 얻을 수 있다고 관련 전문가들은 말합니다.
폴더블 아이폰 플립은 어떤 모습일까?
아이폰 플립은 결국 언젠가는 출시가 된다는 말인데 그렇다면 디자인은 어떨까요. 물론 현재로서도 2~3년 후의 디자인을 예측하는 것이라 변동성이 크겠죠.
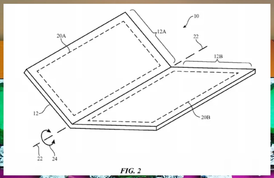
아마도 갤럭시Z 플립3의 디자인과 비슷한 모습이 아닐까 싶습니다. 폴더블 아이폰은 힌지와 관련된 유연한 구부림을 위해 이미지와 같은 장치를 확인할 수 있습니다.

애플은 접이식 디스플레이, 플립업 디스플레이 그리고 랩어라운드 디스플레이를 포함해 폴더블 디스플레이와 관련하여 많은 특허를 가지고 있지만 최대 7.5 인치 또는 8인치 메인 디스플레이를 열 수 있는 전통적인 접이식 디자인이 가장 설득력 있어 보입니다.

그러나 폴더블 아이폰 출시를 더디게 하는 장매물은 구부릴 수 있는 유리를 만들 수 있느냐 없으냐에 달려 있습니다. 삼성과 기타 제조사들의 폴더블폰을 참고하며 기술적 차이를 확인하고 있습니다.

삼성 갤럭시Z 폴드3와 갤럭시Z 플립3가 출시되었지만 여전히 유리와 플라스틱을 혼합한 현재의 화면으로는 접히는 부분의 주름을 해결하지 못했습니다.

애플은 유리 공급업체인 코닝이 세라믹 쉴드 스크린을 구부릴 수 있는 연구의 결과를 기다리고 있습니다. 결국 폴더블 아이폰 플립의 출시는 세라믹 쉴드 스크린을 코닝이 얼마나 빠르게 개발하느냐에 달려 있다고 해도 될 듯합니다.

따라서 아이폰 플립의 가격을 말하는 것은 불필요한 추측이 될 수 있지만 현재의 아이폰 가격에 2배 이상이 될 것이라는 예상을 하고 있습니다. 2023년 쯤 아이폰15 플립 출시에 대한 소식이 전해지길 기대해 봅니다.
아이폰14 프로 티타늄 소재 사용 가능성 있지만 해결해야 할 2가지 문제
아이폰12 탈부착 맥세이프 배터리 팩 용량으로 완전 충전 하는 방법!! 사이즈는 아이폰12 미니 기준
아이폰13 시리즈별 스펙 간단 비교와 디자인은 어떻게 달라지나?
댓글